請認真填寫需求信息,我們會在24小時內與您取得聯系,并為您提供真誠的服務,
有任何關于我們的疑問,聯系400-658-5080。
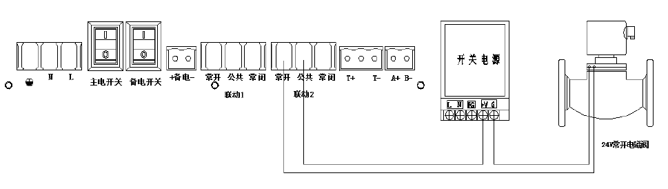
電磁閥接法示意圖( 標準配置)
※若需要安裝電磁閥,請在購買之前提出此要求,訂單生產時可按要求引出連接線。
※若購買之前未提此要求,安裝完畢后需增加,可按以下圖示進行連接,若有疑問可撥打售后服務電話。打閥輸出(聯動2)為一組無源常開、常閉信號,若要連接電磁閥先要確定電磁閥為常開型、還是常閉型,然后再確定電磁閥的工作電壓和功率。
※電壓DC24V(或為其他電壓)功率小于120W的常開電磁閥接線圖示如下:
版權所有:濟南本安科技發展有限公司 魯ICP備13015529號-2